杭州第四批次宅地收金约23.75亿元 最高溢价率超24%
扫描到手机,新闻随时看
扫一扫,用手机看文章
更加方便分享给朋友
来源:澎湃新闻/计思敏
3月18日,杭州市区完成2025年第四批住宅用地出让,2宗地块均溢价成交,共计成交金额约23.75亿元。
此次出让的2宗地块分别位于西湖区和钱塘区,出让土地面积81.22亩,起始总价21.4亿元。本次挂牌出让按照价高者得的原则确定竞得人。
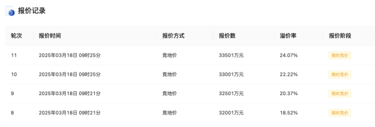
其中,钱塘区地块以较高溢价出让。杭政储出[2025]15号地块位于杭州市钱塘区,即下沙单元QT010110-08地块,地块东至1号渠(艮山东路-九沙大道)工程,南至下沙铭都雅苑,西至星辰幼儿园,北至文峰弄。该地块的出让土地面积为8182平方米,规划建筑面积16364平方米,地块起始价27001万元,折合起始楼面价16500元/平方米。

竞价记录显示,该地块经过11轮竞价后,由杭州星耀房地产开发集团有限公司旗下杭州星凝置业有限公司以总价33501万元竞得,成交楼面价20472元/平方米,溢价率24.07%。
中指研究院华东大区常务副总高院生指出,该地块周边配套完备成熟,紧邻商场和地铁站,步行可达金沙湖公园,地块体量小、开发风险较低。地块容积率2.0、28%建筑密度,未来可打造小高层、洋房或叠墅,突破常规高层产品溢价瓶颈,预计新房价格在4万元/平方米左右。

此次推出的另一宗地块位于杭州市西湖区。杭政储出[2025]14号地块即西湖区之江度假区单元XH110304-11地块,地块东至枫桦东路,南至麦岭沙村,西至麦岭沙村,北至四号浦。地块的出让面积为45964平方米,规划建筑面积101120.8平方米,地块起始价186973万元,起始楼面价18490元/平方米。
竞价记录显示,该地块经过18轮竞价后由绿城房地产集团有限公司以总价203973万元竞得,成交楼面价20171元/平方米,溢价率9.09%。
机构监测信息显示,上述西湖区之江度假区单元地块位于之江单元南侧,周边以空地为主。紧邻建发云涌之江项目,新房精装限价37500元/平方米,摇号热度一般。预计该地块未来新房价格在4万元/平方米左右。
高院生指出,杭州本次土拍市场热度持续,平均溢价率11%,浙系本土房企积极补仓,绿城中国斩获之江度假区单元地块,兴耀房产集团持续深耕下沙,但两宗地块溢价率存在显著分化,反映出房企投资依旧更青睐配套成熟、去化确定性强的优质地块。
声明:本文由入驻焦点开放平台的作者撰写,除焦点官方账号外,观点仅代表作者本人,不代表焦点立场。

