北京发布今年第三轮拟供项目清单 7宗涉宅用地将于月底前供应
扫描到手机,新闻随时看
扫一扫,用手机看文章
更加方便分享给朋友
来源:澎湃新闻/计思敏
北京第三批7宗涉宅用地将于月底前供应。
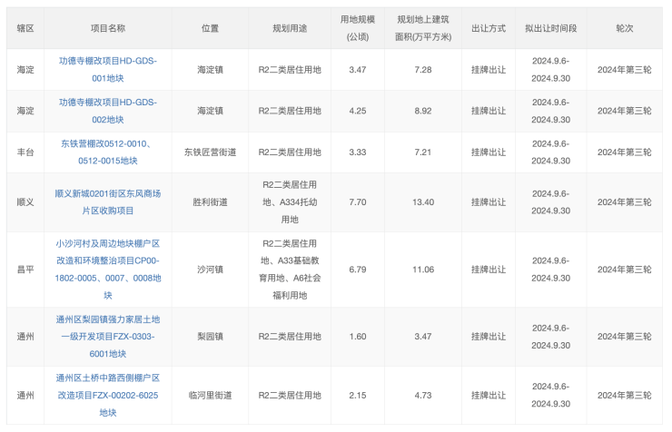
9月6日,北京市规划和自然资源委员会网站发布了“2024年度第三轮拟供应商品住宅用地清单”,共涉及7宗地,土地面积约29公顷,建筑规模约56万平方米。
从地块区位来看,海淀2宗、通州2宗,丰台、顺义、昌平各1宗,清单内项目将于2024年9月30日前供应。
微信公众号“北京市规划和自然资源委员会”发布的消息显示,北京市全面落实党中央要求,针对房地产市场供求关系的新变化和人民群众对优质住房的新期待,加大需求突出、交通等基础设施和公共服务配套较好地区土地投放,强化对高质量发展的要素保障,7宗地均为轨道交通站点周边的纯住宅地块。

7宗地块中,用地规模最大的地块为顺义新城0201街区东风商场片区收购项目,该地块位于胜利街道,用地规模7.7公顷,规划地上建筑面积13.4万平方米,规划用途R2二类居住用地、A334托幼用地。
海淀区推出的两宗地块分别为功德寺棚改项目HD-GDS-001地块、功德寺棚改项目HD-GDS-002地块。两宗地块均位于海淀区西北旺镇,合计用地规模7.72公顷。
丰台区拟供地块为东铁营棚改0512-0010、0512-0015地块,该地块用地规模3.33公顷,规划地上建筑面积7.21万平方米,规划用途R2二类居住用地。
从北京此前发布的供地清单看,今年2月和6月,北京分别公布了今年第一批及第二批拟供地清单,两批次均涉及23宗用地,土地面积共计262公顷,建筑规模约528万平方米。
北京市规划自然资源委表示,北京市将深入贯彻党的二十届三中全会精神,落实好促进房地产市场平稳健康发展的新政策,加快构建房地产发展新模式,持续优化商品住宅用地交易规则,推动土地资源高效配置、市场潜力充分释放,努力实现资源配置效率最优化和效益最大化。
声明:本文由入驻焦点开放平台的作者撰写,除焦点官方账号外,观点仅代表作者本人,不代表焦点立场。

